智新云网络

 找回密码
 立即注册

QQ登录

只需一步,快速开始

开启左侧

“打工人”的含金量如此之高,商标注册已达151件

[复制链接]
发表于 2021-2-21 09:38:08 | 显示全部楼层 |阅读模式
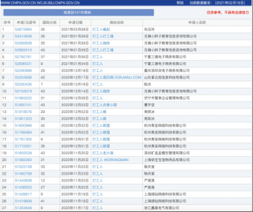
打工人.png

中国商标网,类似于“打工人”等热词已被申请注册为商标。运城社区搜索发现,截至2021年2月18日,包含“打工人”的申请或已注册商标有151件,商标名称包括“打工人打工魂”“打工人奶茶”“打工人崛起”“打工人的星期八”等。  
您需要登录后才可以回帖 登录 | 立即注册

本版积分规则

关闭

社区推荐上一条 /1 下一条

小黑屋|手机版|Archiver|关于我们|智新云网络 ( 蜀ICP备18012146号-1 )

GMT+8, 2025-10-26 21:23 , Processed in 0.081943 second(s), 24 queries .

Powered by Discuz! X3.4

© 2001-2023 Discuz! Team.

快速回复 返回顶部 返回列表